Novinka
Systém TM 77N MoreView byl navržen pro moderní architekturu, ve které mají klíčový význam proporce, světlo a redukce viditelných konstrukčních prvků.
Systém umožňuje navrhování minimalistických prosklení s důrazem na estetiku detailu a čistotu linií fasády.
Optimalizovaná konstrukce profilů umožňuje výrazné snížení viditelných šířek napojení z exteriérové i interiérové strany při zachování stability a požadovaných užitných parametrů. Odvodnění skryté v profilu eliminuje potřebu čelního odvodnění a zajišťuje jednotný a čistý vzhled fasády. Možnost skrytí rámu ve zdivu a navrhování prosklení s maximální plochou skla dále posiluje efekt minimalistické fasády a maximálního přístupu přirozeného světla.
Okenní systém MoreView byl navržen s ohledem na projektovou flexibilitu. Dostupnost různých způsobů otevírání umožňuje přizpůsobit řešení specifikům objektu — jak v rezidenční, tak i komerční výstavbě. Promyšlená konstrukční řešení a moderní technologie montáže skla podporují efektivní prefabrikaci a přesné provedení.
Okno MoreView přirozeně doplňuje nabídku společnosti Yawal a představuje nástroj pro realizaci projektů, kde je klíčová estetická konzistence, kvalita detailu a plná kontrola nad finálním architektonickým výsledkem.
Přednosti systému
- Minimalizace profilu – maximální plocha zasklení při snížené viditelnosti napojení z vnější i vnitřní strany.
- Jednotný architektonický detail – klika s unikátním designem integrovaná do profilu, bez zásahu do linie křídla.
- Skryté odvodnění – bez čelních odvodňovacích prvků, „čistá“ fasáda a uspořádaná estetika systému.
- Projektová flexibilita – možnost použití různých způsobů otevírání a konfigurací prosklení.
- Profil bez vnitřního klipsu – zajišťuje jednotnou linii bez zbytečného členění.
- Moderní technologie montáže skla – využití lepicích pásek pro zefektivnění a zrychlení výrobního procesu.
Technické parametry
| ENERGIE |
|
||||
| KOMFORT |
|
||||
| BEZPEČNOST |
|
Charakteristika systému
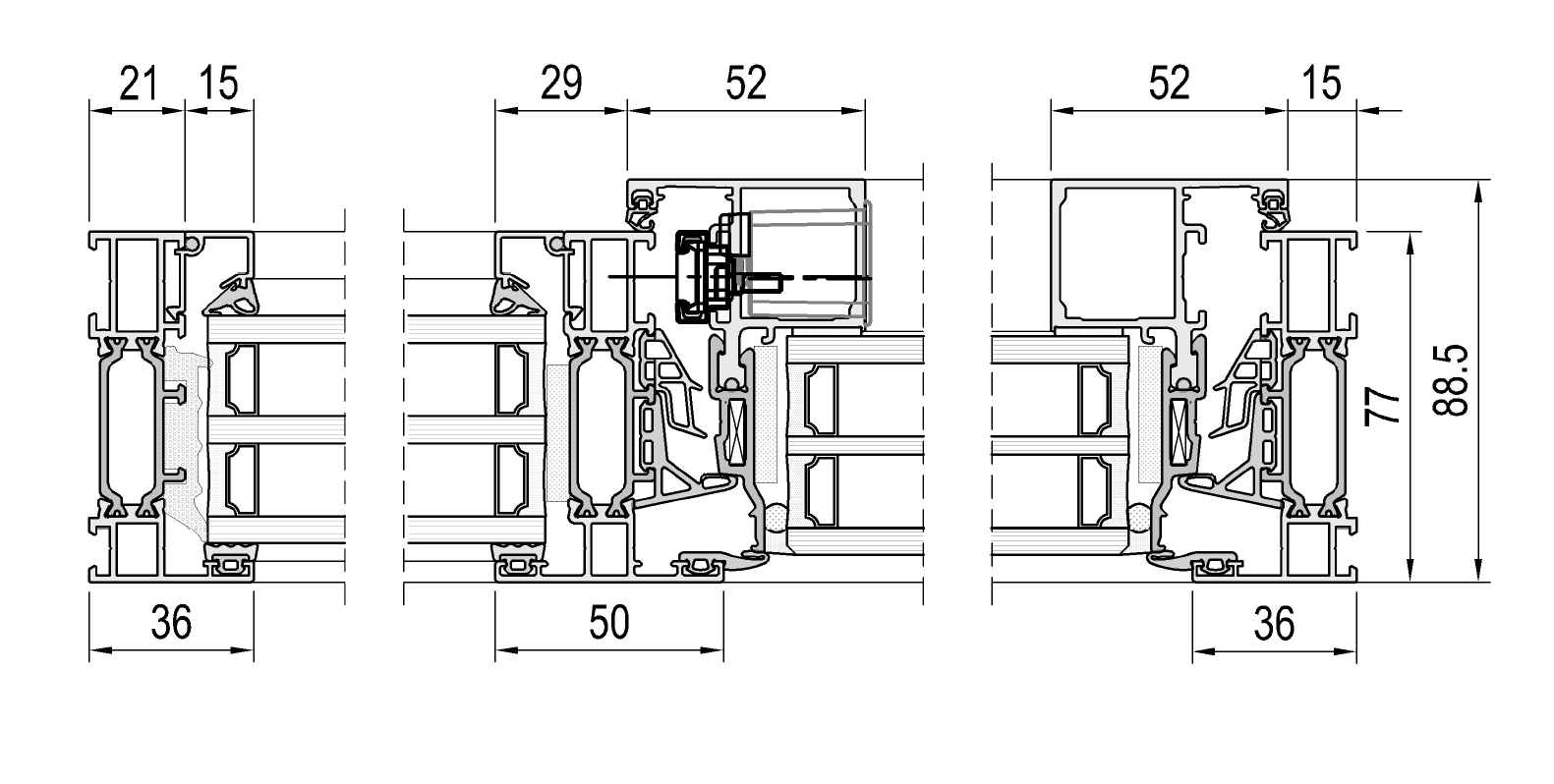
| Stavební hloubka rámu |
77 mm |
||||
| Stavební hloubka křídla |
88,5 mm |
||||
| Tloušťka výplně |
46–50 mm |
||||
| Maximální rozměry |
|
||||
| Maximální hmotnost křídla |
180 kg |
||||
| Typ konstrukce / schéma křídel |
Pevné okno, otvíravé, sklopné, otvíravě-sklopné, sklopně-otvíravé |




